赵工系列|基于GB/T 6974.1-2008等 |基距是指起重机的什么距离?起重机基准面是哪个面?

释放双眼,带上耳机,听听看~!
与起重机路径有关的参数有跨度S、起重机轨距K(即大车轨距)、小车轨距K、基距b、坡度i、起重机基准面(起重机支承面)等,其中跨度S、轨距K、坡度i都比较好理解,那么基距b指的起重机的什么距离呢?起重机基准面是哪个面?
说明:
GB/T 6974.1-2008基距代号为b,GB/T 3811-2008基距代号为B。
1、基距b或B
基距b或B(base),即流动式起重机或行走式起重机沿平行于起重机纵向运行方向测定的起重机支承中心线之间的距离,见图1~图5。(GB/T 6974.1-2008
赵工系列|基于GB/T 6974.1-2008等 |基距是指起重机的什么距离?起重机基准面是哪个面?
图1  单侧两轮结构的基距(即轮距,来源:GB/T 6974.1-2008)
赵工系列|基于GB/T 6974.1-2008等 |基距是指起重机的什么距离?起重机基准面是哪个面?
图2  单侧四轮结构的基距(来源:GB/T 6974.1-2008)
赵工系列|基于GB/T 6974.1-2008等 |基距是指起重机的什么距离?起重机基准面是哪个面?
图3  单侧六轮结构的基距(来源:GB/T 3811-2008)
赵工系列|基于GB/T 6974.1-2008等 |基距是指起重机的什么距离?起重机基准面是哪个面?
图4  单侧八轮结构的基距(来源:GB/T 3811-2008)
赵工系列|基于GB/T 6974.1-2008等 |基距是指起重机的什么距离?起重机基准面是哪个面?
图5  单侧十二轮结构的基距(来源:GB/T 3811-2008)
由图1~图5可知,门式起重机基距即与下横梁连接的铰轴中心线距离,见图6,桥式起重机基距即端梁支承中心线距离,见图7,两轮结构的基距即轮距,见图1。
赵工系列|基于GB/T 6974.1-2008等 |基距是指起重机的什么距离?起重机基准面是哪个面?
图6  八轮结构的基距实例
赵工系列|基于GB/T 6974.1-2008等 |基距是指起重机的什么距离?起重机基准面是哪个面?
图7  桥式起重机单侧四结构的基距实例(素材来源:鼎亚)
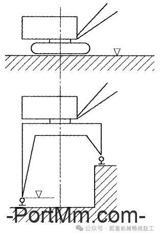
2、起重机基准面
起重机基准面,又称起重机支承面,即支承起重机运行底架的基础或轨道顶面的水平面,见图8。
赵工系列|基于GB/T 6974.1-2008等 |基距是指起重机的什么距离?起重机基准面是哪个面?
图8  起重机基准面示意图(来源:GB/T 6974.1-2008)
当支承钢轨或导轨处于不同水平面时,取较低者作为起重机基准面,见图8。
--参考资料--

GB/T 3811-2008 起重机设计规范

GB/T 6974.1-2008 起重机  术语  第1部分:通用术语

赵工系列|基于GB/T 6974.1-2008等 |基距是指起重机的什么距离?起重机基准面是哪个面?

END

★上述内容为个人学习研究总结,如有不妥之处,敬请各位帮忙指正哦。借载的图片只是辅助说明行业知识的学习分享,若涉嫌侵权,烦请联系予以删除啦。

★觉得不错就挑一个吧,关注、分享、推荐、点赞都可以,点击下方名片关注公众号,更多相关文章等你来看哟。转载请注明出处~

转载自公众号:起重机械畅阅赵工
赵工系列|基于GB/T 6974.1-2008等 |基距是指起重机的什么距离?起重机基准面是哪个面?

给TA打赏
共{{data.count}}人
人已打赏
维保经验

吊装作业钢丝绳不同夹角下的受力图

2025-10-24 12:31:45

维保经验

特种设备-起重机械篇

2025-11-10 15:42:14

个人中心
购物车
优惠劵
今日签到
有新私信 私信列表
搜索